人事

0267|ワークフロー「表示順の編集」方法

対象製品
オフィスステーション 労務

従業員マイページ「ワークフロー申請」画面と管理者側の「申請フォームの作成」画面の申請フォームの表示順を変更する方法について、ご説明します。

注意点
ワークフロー機能については、オフィスステーション Proではご利用いただけません。
ワークフロー機能の操作は、顧問先企業側システムでのみおこなえます。

表示順の変更

[ワークフロー]>[申請ワークフローの設定]>[申請ワークフローの設定]をクリックします。

A00001_0267_1


[表示順の編集]をクリックします。

申請フォームが501件以上登録されている場合は、「確認」ウィンドウが表示されます。
[移動]をクリックすると、「申請フォーム表示順の一括変更」画面に移動します。

H01234_0267_2

画面操作での変更


ドラッグ&ドロップ等の画面操作で申請フォームの表示順を変更します。

H04233_0267_3
No. 項目名 説明
ドラッグ&ドロップし順序を並び替えます。
クリックすると「一番上に移動」「一番下に移動」を選択でき、並び順の一番上または一番下へ移動します。
保存 編集した表示順を保存します。
キャンセル 編集内容を破棄し、「申請フォームの作成」画面に戻ります。
一括変更 「申請フォーム表示順の一括変更」画面に移動します。

一括変更


「申請フォームの作成」画面から申請フォームが501件以上登録されている場合に[表示順の編集]をクリック、
または、「申請フォーム表示順の変更」画面から[一括変更]をクリックで本画面に移動します。
本画面では、Excelテンプレートファイルを使用して申請フォームの表示順を変更します。


[ダウンロード]をクリックし、表示順変更テンプレートファイルをダウンロードします。

H04236_0267_4


ダウンロードしたファイルのB列「表示順」に並び順を入力し、ファイルを保存します。
※B列「表示順」以外の項目は参照項目およびオフィスステーションで管理する情報のため、編集不可となります。
※入力の注意点については、「申請フォーム表示順の一括変更」画面のの注意書きをご確認ください。

例)5個の申請フォームは並び順を指定し、以外は指定しない場合
申請フォーム表示順の一括変更フォーマット_0267_5
H01234_0267_6

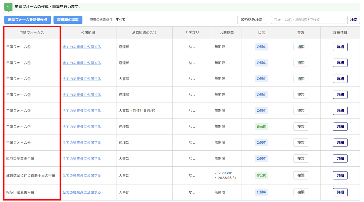
(変更後の「申請フォームの作成」画面のフォーム一覧)

例)使用頻度が高い申請フォームを上位、以外を下位に、上位/下位の中では並び順を指定しない場合
申請フォーム表示順の一括変更フォーマット_0267_7
H01234_0267_8

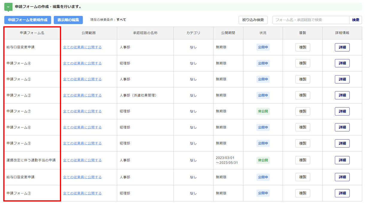
(変更後の「申請フォームの作成」画面のフォーム一覧)

ポイント
・「0」を入力または「未入力」の申請フォームそれぞれの中での表示順は、申請フォームの作成日と
 なります。

・従業員マイページ「ワークフロー申請」画面の申請フォームの表示順は、「申請フォームの作成」
 画面のフォーム一覧と同じです。
 ※「状況:非公開」の申請フォームは表示されません。


[ファイルの選択]()をクリックし、保存したファイルを選択、[アップロード]()をクリックします。

H04236_0267_9


画面上部に「取込完了しました。」と表示されたら、一括変更は完了です。
[申請ワークフローの設定へ戻る]をクリックし、「申請フォームの作成」画面に移動して、申請フォームの表示順を確認してください。

H04236_0267_10

補足
エラーが発生した場合
[詳細を見る]をクリックすると、エラー内容を確認できます。
ファイルを修正し、再度アップロードしてください。

最近表示した記事
  • 閲覧履歴がございません。

関連記事